Sony opatentowało technologię opartą na sztucznej inteligencji, która ułatwia przechodzenie gier. Chodzi o przechodzenie fragmentów gry, w których gracz uktnął i nie może sobie poradzić.
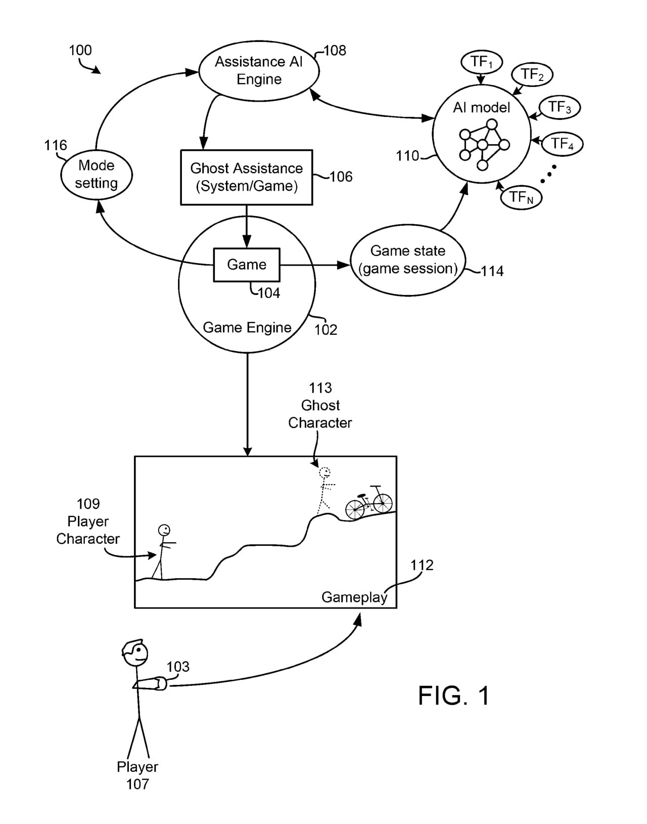
Patent został złożony we wrześniu 2024 roku, a w tym tygodniu Światowa Organizacja Własności Intelektualnej opublikowała jego międzynarodowy raport statusowy. Opisana w dokumentach technologia nosi nazwę „Ghost Player”. Polega ona na generowaniu przez AI wirtualnej postaci, która pokazuje, jak rozwiązać konkretną zagadkę lub przejść dany fragment gry.
System działa w dwóch trybach. W trybie przewodnika AI steruje postacią i prezentuje rozwiązanie, po czym gracz wykonuje je samodzielnie. W trybie pełnym system sam kończy dany etap bez udziału gracza. Przykładowo, jeśli gracz utknąłby przy zagadce w Uncharted, mógłby zobaczyć sterowanego przez AI Nathana Drake’a, który pokazuje poprawne rozwiązanie.
Rozwinięcie istniejących systemów pomocy
Sony od lat stosuje różne formy wsparcia dla graczy. W wielu tytułach można obniżyć poziom trudności, pominąć fragment rozgrywki lub skorzystać z podpowiedzi przy zagadkach.
Sony opatentowało nową technologię, która pomaga w przechodzeniu gier.

Nowy system jest rozwinięciem funkcji PS5 Game Help, która zadebiutowała razem z konsolą PlayStation 5. Game Help umożliwia wyświetlanie podpowiedzi w formie obrazów lub filmów bezpośrednio w trakcie gry, za pomocą kart systemowych PS5.
Choć rozwiązanie to nie było szeroko wykorzystywane, zyskało uznanie wśród graczy polujących na trofea, ponieważ pozwalało korzystać z porad bez sięgania po zewnętrzne solucje.
Jak działa sztuczna inteligencja?
Zgodnie z patentem, model AI miałby być trenowany na istniejących nagraniach z rozgrywki, a nie na wcześniej zaprogramowanych sekwencjach przygotowanych przez twórców gry. Oznacza to, że system uczyłby się na podstawie rzeczywistej rozgrywki.

W dokumentach nie ma informacji o tym, aby Sony planowało wdrożenie tej technologii w najbliższych grach lub PlayStation 6. Warto zaznaczyć, że firmy technologiczne często zgłaszają patenty, które nigdy nie są realizowane. Ten też może czekać taki los, aczkolwiek niewykluczone, iż producent jednak zdecyduje się go zastosować w PS5 lub PS6.
AI wchodzi do gier
Sztuczna inteligencja coraz częściej pomaga graczom w grach. W 2025 roku Microsoft zaprezentował Copilot for Gaming, czyli asystenta AI dla graczy Xboxa. System ten był przedstawiany jako pomoc dla mniej doświadczonych użytkowników, który pomaga w wykonywaniu różnych czynności w grach czy aplikacji Xbox.
Spodobało Ci się? Podziel się ze znajomymi!
Pokaż / Dodaj komentarze do:
Nowy patent może sprawić, że gry będą przechodzić się same